Machine configuration
Wheel Width
The AX-1 can be configured with different wheel widths to match the track spacing on your field. Upon delivery, the wheel width of your AX-1 will be configured according to the agreement made prior to delivery. If you need to configure the machine with different wheel widths, additional spacers can be purchased. Contact Kilter to purchase spacers for your AX-1.
It is important to match the wheel c-c width as closely as possible to the customer's tramline c-c in the fields where the machine will operate. This ensures that the machine has maximum room to navigate, allowing the customer to achieve the highest possible uptime.

The center–center wheel width of the AX-1 can be adjusted from 1550 mm to 2000 mm. Any C-C wheel width at or over 1660 mm allows for the use of six spray modules. The table below show which spacers and bolts should be used for the different wheel width configurations.
The last two tables show the available spacer lengths and bolt lengths. Using these spacers and bolts (as well as nuts and washers), any C-C wheel width from 1550 mm to 2000 mm can be achieved, with a 10mm width interval.
Further down are examples of how to configure the AX-1 to different wheel width configurations.



Examples
.png?width=315&height=273&name=image%20(6).png)
Figure 1 – View and exploded view of C-C wheel width of 1760 mm
Figure 1 shows a C-C wheel width of 1760 mm. This is the left side of the robot. Here a 5 mm spacer is closest to the robot, then a 20 mm spacer, and then a 70 mm spacer. A 90 mm bolt is used closest to the robot, and a 35 mm bolt closest to the wheel. Remember to use a washer at both ends of all bolts.
.png?width=385&height=243&name=image%20(8).png)
Figure 2 - View and exploded view of a C-C width of 1620 mm.
Figure 2 shows an expoled view of how to adjust the C-C width to 1620 mm. Here a 5 mm spacer is used closest to the robot, then a 20 mm spacer, in accordance with the above table. A 90 mm M10 bolt is used, together with washers on both sides, and a nut.
-2.png?width=364&height=173&name=image%20(10)-2.png)
Figure 3 - View and exploded view of the maximum C-C wheel width of 2000 mm
Figure 3 shows the maximum (official) wheel width configuration. Here a 5 mm spacer is used closest to the robot, then a 100 mm spacer, and then a 110 mm spacer closest to the wheel.
Recommended procedure for change of spacers
Please see the Procedure for adjustment of wheel (track) width
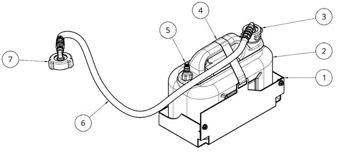
External Fuel Tank
An external fuel tank can be connected to the fuel inlet on the generator. It consists of:
- Mounting bracket
- 5L fuel tank
- Cap for external tank
- Retention strap
- Vent valve
- Fuel hose
- Fuel cap for the generator

Figure – Components of the External Fuel Tank
Important: The generator must contain fuel for the external tank to function properly.
Important: Ensure that the fuel hose does not get caught on anything when opening or closing the door with the fuel tank.
Danger: The vent valve must always have an air pocket, or fuel may leak from the tank. Never fill the tank beyond the 5-liter mark (see figure below). The fuel tank must always remain in a vertical position.
Warning: The generator’s vent valve is located in the original cap. To avoid pressure buildup in the generator's tank, it must not be left with the alternative cap for extended periods without being connected to the external fuel tank.
Caution: The arrow on the generator (see figure below) indicates the recommended orientation for the generator cap and hose. If the hose is not oriented correctly, it may come into contact with the generator cover and sustain mechanical damage due to vibrations. To adjust the orientation, loosen the generator cap, rotate the hose connector, and tighten the cap again.
When the generator’s fuel tank runs out of fuel, a vacuum is created that draws fuel from the external tank into the generator’s tank. The volume displaced from the external tank is replaced with air through the vent valve. The vent valve also serves to release pressure buildup caused by temperature fluctuations.

Figure – Warning Labels for the External Fuel Tank
During refueling, the external fuel tank can be replaced with a full one as long as there is fuel in the generator. Loosen the strap securing the external tank and disconnect the fuel hose. Replace the empty tank, secure the new one with the strap, and reconnect the fuel hose.

Figure – External Fuel Tank on AX-1